找回密码
 立即注册

QQ登录

只需一步,快速开始

查看: 9745|回复: 20

化工仪表常见七种定位器,最简调试步骤集锦!

  [复制链接]
  • 打卡等级:即来则安
  • 打卡总天数:29
  • 打卡月天数:1
  • 打卡总奖励:7791
  • 最近打卡:2025-12-13 17:25:16

2540

主题

1353

回帖

2万

积分

管理员

积分
21301
发表于 2019-4-13 23:47:56 | 显示全部楼层 |阅读模式



阀门定位器是控制阀的主要附件它将阀杆位移信号作为输入的反馈测量信号,以控制器输出信号作为设定信号进行比较当两者有偏差时改变其到执行机构的输出信号使执行机构动作建立了阀杆位移倍与控制器输出信号之间的一一对应关系。本文重点讲解常见定位器调试步骤帮助仪表人轻松掌握各类定位器。


阀门定位器valvepositioner阀门定位器按结构分气动阀门定位器、电气阀门定位器及智能阀门定位器是调节阀的主要附件通常与气动调节阀配套使用它接受调节器的输出信号然后以它的输出信号去控制气动调节阀当调节阀动作后阀杆的位移又通过机械装置反馈到阀门定位器阀位状况通过电信号传给上位系统。

阀门定位器按其结构形式和工作原理可以分成气动阀门定位器、电气阀门定位器和智能式阀门定位器。

阀门定位器能够增大调节阀的输出功率减少调节信号的传递滞后的情况发生加快阀杆的移动速度能够提高阀门的线性度克服阀杆的摩擦力并消除不平衡力的影响从而保证调节阀的正确定位。

01
阀门定位器的分类


1、阀门定位器按输入信号分为气动阀门定位器、电气阀门定位器和智能阀门定位器。

1气动阀门定位器的输入信号是标准气信号例如20~100kPa气信号其输出信号也是标准的气信号。
2电气阀门定位器的输入信号是标准电流电压信号例如4~20mA电流信号或1~5V电压信号等在电气阀门定位器内部将电信号转换为电磁力然后输出气信号到拨动控制阀。
3智能电气阀门定位器它将控制室输出的电流信号转换成驱动调节阀的气信号根据调节阀工作时阀杆摩擦力抵消介质压力波动而产生的不平衡力使阀门开度对应于控制室输出的电流信号。并且可以进行智能组态设置相应的参数达到改善控制阀性能的目的。

2、按动作的方向可分为单向阀门定位器和双向阀门定位器。单向阀门定位器用于活塞式执行机构时阀门定位器只有一个方向起作用双向阀门定位器作用在活塞式执行机构气缸的两侧在两个方向起作用。

3、按阀门定位器输出和输入信号的增益符号分为正作用阀门定位器和反作用阀门定位器。正作用阀门定位器的输入信号增加时输出信号也增加因此增益为正。反作用阀门定位器的输入信号增加时输出信号减小因此增益为负。

4、按阀门定位器输入信号是模拟信号或数字信号可分为普通阀门定位器和现场总线电气阀门定位器。普通阀门定位器的输入信号是模拟气压或电流、电压信号现场总线电气阀门定位器的输入信号是现场总线的数字信号。

5、按阀门定位器是否带CPU可分为普通电气阀门定位器和智能电气阀门定位器。普通电气阀门定位器没有CPU因此不具有智能不能处理有关的智能运算。智能电气阀门定位器带CPU可处理有关智能运算例如可进行前向通道的非线性补偿等现场总线电气阀门定位器还可带PID等功能模块实现相应的运算。

6、按反馈信号的检测方法也可进行分类。例如用机械连杆方式检测阀位信号的阀门定位器用霍尔效应检测位移的方法检测阀杆位移的阀门定位器用电磁感应方法检测阀杆位移的阀门定位器等。



02
定位器的作用原理



阀门定位器是控制阀的主要附件.它将阀杆位移信号作为输入的反馈测量信号,以控制器输出信号作为设定信号进行比较当两者有偏差时改变其到执行机构的输出信号使执行机构动作建立了阀杆位移量与控制器输出信号之间的一一对应关系。因此阀门定位器组成以阀杆位移为测量信号以控制器输出为设定信号的反馈控制系统。该控制系统的操纵变量是阀门定位器去执行机构的输出信号。
1用于对调节质量要求高的重要调节系统以提高调节阀的定位精确及可靠性。
2用于阀门两端压差大△p>1MPa的场合。通过提高气源压力增大执行机构的输出力以克服液体对阀芯产生的不平衡力减小行程误差。
3当被调介质为高温、高压、低温、有毒、易燃、易爆时为了防止对外泄漏往往将填料压得很紧因此阀杆与填料间的摩擦力较大此时用定位器可克服时滞。
4被调介质为粘性流体或含有固体悬浮物时用定位器可以克服介质对阀杆移动的阻力。
5用于大口径Dg>100mm的调节阀以增大执行机构的输出推力。
6当调节器与执行器距离在60m以上时用定位器可克服控制信号的传递滞后改善阀门的动作反应速度。
7用来改善调节阀的流量特性。
8一个调节器控制两个执行器实行分程控制时可用两个定位器分别接受低输入信号和高输入信号则一个执行器低程动作另一个高程动作即构成了分程调节。



03
常见定位器调试方法集锦



一、ABB定位器
调试步骤

1、定位器面板设置
2、内部接线4根反馈和指令线。
3、调试前的重要参数切换方式
1切换就地、远方。按住MODE键不要松开再点击↑ ↓键可以进行切换。
2用1的方式进入1.1远方控制1.2就地控制
3若要实现快开则先按住↑键再按键 ↓键实现快关则先按住 ↓键再按住↑键方可完成操作。
4用1的方式进入1.3出现单词SENS-POS其意思是显示调节定位器后连杆与后旋钮弧度保持在对称的范围内。
4、调试步骤
1P1.0将↑↓键同时按,然后点击”ENTER”键出现单词“LINEAR”调节角行程和直行程。
2P1.1按住MODE键点击↑ ↓键进入P1.1菜单。常按ENTER键3S,然后面板显示倒数计时为0后松开就出现自整定直到出现完成“COMPIETE”单词。
3P1.4 退出EXIT会显示“保存”和“不保存”按住“ENTER”3S,则保存调试若不保存直接按↑键退出到“放弃”单词然后再按住“ENTER”3S退出。
4P2.3出现REVERSE单词显示的是调节阀门和定位器的正反作用。
5P3.2出现CW/CCW单词调节的是DCS和就地定位器指令的正反作用。
6P3.3出现EXIT单词意思为退出。
7P8.2出现DIGEET单词则调节的是DCS和就地定位器反馈的正反作用。

以上参数为重要参数调试步骤详情请查看说明书


二、费希尔FISHER阀门定位器


DVC6000调试步骤

打开275/375手操器 从主菜单Main Menu 选择Hart应用HART Application从On line找到该定位器。依次进入Setup&Diag ——Detailed Setup——Mode——Instument Mode (或者按手操器上快捷键直接进入)——警告in service 模式被送到仪表当中时阀门也许会动WARNING!Valve may move when in Service mode is sent to the instrument. 按OK 后进入仪表模式Instrument Mode选择Out of service 后 按ENTER——提示“Instrument mode is already out of service!” 后回到主界面依次进入 Setup&Diag——Basic Setup——Auto setup——Setup Wizard      
1、选择你所使用的压力单位Pressure units (psi)后ENTER   
2、输入最大供气压力Max Supply Press (psi)后ENTER   
3、选择执行机构的生产厂家Actuator Manufcture后ENTER 以上品牌没的话选OTHER  
4、 如果执行机构单作用带弹簧选3 、双作用带弹簧选4 、双作用不带弹簧选2
5.、选ROTARY 下一步根据阀门零信号时是开选2 关的话选1 下一步再选1 下一步选YES自动选择阀门转向及其增益大小
6、选择是否有加速器或者快速释放阀Is a Volume Booster or Quick Release Present ?
7、提示 执行机构的信息正被发送到仪表当中请稍等“Actuator information is being sent to the instrument. Please wait…”   
8、选择使用出厂默认设置Use Factory defaults for setup?(Yes is recommended for Initial Setup) Yes 后ENTER   
9、 提示 出厂默认设置正被发送到仪表当中请稍等“Factory default are being sent to the instrument. Please wait… ”  
10、继续自动设置 选择放大器调整“To continue Auto Setup.select Relay Adjust ”
11、你是否希望现在进行放大器调整(Do you wish to run Relay Adjustment Calibration now ?) 假如是双作用选择Yes 单作用选择No后ENTER  
12、选择行程标定 To continue.select Auto Calib Travel.按OK
13、 你希望现在进行自动行程标定吗Do you wish to run Auto Travel Calib now ?Select YES if initial setup选择Yes 后按 ENTER
14、 警告标定将导致仪表的输出突然变化 按 OK
15、选择交点的调整Select Crossover AdjustManual/Last Value/Default 正常情况下选择 default 后 ENTER 假如默认的调整后精度比较差 才会选择Manual手动
16、 下面进入自动行程标定的过程完成后仪表模式恢复到In service!

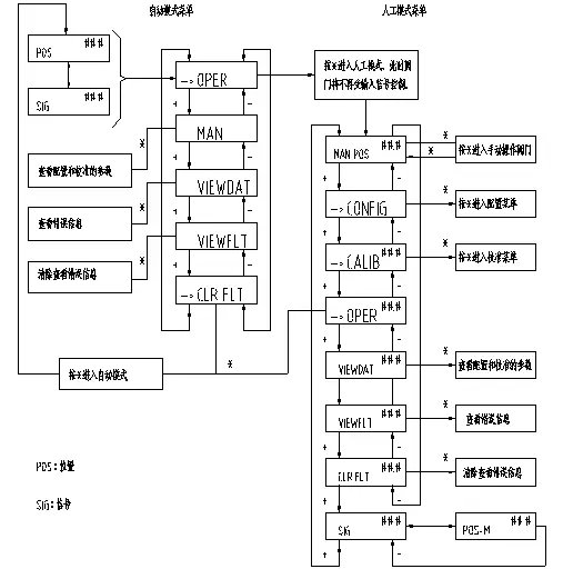
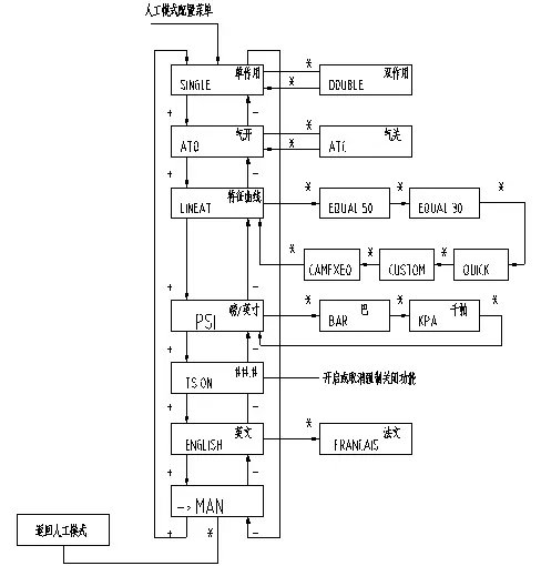
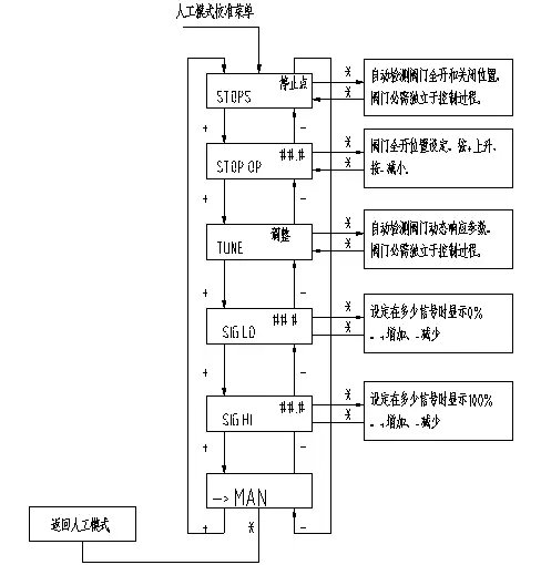
三、梅索尼兰SVI-II定位器

调试步骤

1、检查接线及阀门安装情况是否完整
2、切换到人工模式Manual
3、检查并调整好所有的结构参数CONFIGuration
4、运行全开、全关点STOPS自动搜索。
5、运行自动调整功能autoTUNE得到新的动态响应参数
6、检查是否有错误提示
7、手动操作看看是否可以正常运行
退出人工状态回到自动控制状态。

菜单流程
接通信号源后将输入信号调节到12mA。系统会进行自检然后进入交替显示阀位和输入信号的值。此时系统有可能处于人工或自动的状态取决于上次运行断电前的状态。如果屏幕显示阀位时使用POS-M说明处于人工状态如果显示阀位时使用POS说明处于自动状态。然后按照流程图操作即可完成设定。


四、韩国永泰YTC定位器
调试步骤

1、条件①稳定的气源 压力≥0.3MPa角行程定位器压力≥0.5MPa
          ②4-20mA信号输入设备
2、调试
①打开定位器前盖打开电源接线盒。
②把稳定气源接入过滤减压阀并密封严紧。
③区分正负输入端接好信号输入设备。
④打开气源开关向下调节调“0”旋钮直至排气压力表指针不为0然后反方向缓慢旋转调“0”旋钮使压力表指针刚好处于0位置。
⑤输入25%8mA、50%12mA、75%16mA、100%20mA信号观察指针下降上升行程
A.、若单次行程超过刻度盘的1/4说明定位器量程过大此时应调节量程调节旋钮先松开螺丝然后调节下方的旋钮向“—”方向调节。根据实际情况确定调节的程度单次微调边试边调。
B、若单次行程过小或不足刻度盘的1/4说明定位器量程过小操作与A相同方向相反。
⑥每次调节量程调节旋钮后重新进行试验若实际行程与理论行程差距仍然很大则再调节量程调节旋钮若实际行程与理论行程差距较小则调节调“0”旋钮使  指针移动到对应的刻度上再输入信号观察指针移动是否正确。
注通过量程调节旋钮和调“0”旋钮的配合来调节量程和行程已达到调试的目的。

注意事项
1当输入信号为20mA是定位器排气压力必须3公斤球阀5公斤一般为3.2-4公斤。若压力不足则调节阀开启/关闭不严无法正常工作。
2气开阀当输入信号为0时排气压力必须为0否则阀门没有完全关闭。

五、西门子定位器
调试步骤

1、调试前准备工作
1接汽源再接电源将电流给到4mA以上
2如定位器没有调试过这时显示屏中应出现P进入组态先按“+”再同时按“—”反之相同看阀门的最大点或最小点
3看最小点应在5-9之间不对调定位器的黑色齿轮。看最大点应不超过95调最小点尽量接近5
4 用“+”、“—”键将阀门行程调到50%调试前准备工作完成
注意如果定位器调试过必须清零清零步骤为按手键进入(新出的为50最初的为55)再按“+”5秒出现OCAY再按手键5秒出现C4抬手出现P进入组态后调试步骤同以上2、3、4相同。

2、初始化的调校步骤
A、执行机构的自动初始化
自动初始化前一定要正确设定阀门的开关方向否则初始化无法进行
1正确移动执行机构离开中心位置开始初始化。
直行程选择
角行程选择
用“+”“—”键切换
2短按功能键切换到第二参数
显示
用“+”“—”键切换
这一参数必须与杠杆比率开关的设定值相匹配。
3用功能键切换到参数三显示如下
如果你希望在初始化阶段完成后计算的整个冲程量用mm 表示这一步必须设置。为此你需要在显示屏上选择与刻度杆上驱动钉设定值相同的值。
4用功能键切换参数四显示如下
5下按“+”键超过 5 秒初始化开始
初始化进行时“RUN1”至“RUN5”一个接一个出现于显示屏下行。
初始化过程依据执行机构可持续 15 分钟。
有下列显示时初始化完成。
在你短促下压功能键后出现显示
通过下按功能键超过 5 秒退出组态方式。约5 秒后软键显示将出现。松开功能键后装置将在Manual 方式按功能键将方式切换为AUTO此时可以远控操作。

B、执行器手动初始化
利用这一功能不需硬性驱动执行机构到终点位置即可进行初始化。杆的开始和终止位置可手工设定。初始化剩下的步骤控制参数最佳化如同自动初始化一样自动进行。
直行程执行机构手动初始化的顺序步骤。
1对直行程执行机构实行初始化。通过手工驱动保证覆盖全部冲程即显示电位计设定处于P5.0 和P95.0 的允许范围中间
2下按功能键 5 秒以上你将进入组态方式。
直行程选择
角行程选择
用“+”“—”键切换
3短按功能键切换到第二参数
显示
用“+”“—”键切换
这一值必须与传送速率选择器的设定相对应。33°或90°
4用功能键切换到参数三显示如下
如果你希望初始化过程结束时测定的全冲程用mm 表示你需要在显示器中选择与驱动销钉在杆刻度上设定的值相同或对介质调整来说下一个更高的值。
5通过下按功能选择参数五
①先按住“—”再同时按住“+”键快关阀门显示在6.5左右否则调节黑色旋钮调节使其在范围内
如果按此操作显示的数是减小的请先调整执行器的开关方向
②然后先按住“+”再同时按住“—”键快开阀门。开展后观察显示应在95以内否则调节黑色旋钮使其在正常范围内然后下按功能键确认
③先按住“—”再同时按住“+”键快关阀门显示应在5到9之间然后按下功能键确认
④初始化自动开始。
⑤初始化的停止是自动出现的。RUN1 到RUN5 顺序出现在显示屏的下行。当初始化已全部完成时出现如下显示
下按功能键超过 5 秒离开杆组态方式。接近5 秒后软键显示将出现。松开功能键后装置将在Manual 方式按功能键将方式切换为AUTO此时可以远控操作。
注改变调整门的开关方向需要调整定位器的7和38项两项同时用“+”、“—”键更改两项的设置必须要相同。
手动初始化时出现
下按“+”键5秒以上开始初始化显示。
六、山武定位器
调试步骤

1、调整
自动设定是一种独特的程序可用来自动进行定位器的各种调整。
用开度开关进行自动设定,执行自动设定和零点-量程调整时需要对定位器进行观察。
开度按钮用来启动自动设定和进行手动零点-量程标定步骤
1将定位器的输入信号设定为DC 18±1mA
2打开SCP的前盖按住开度按钮到“UP”位置对于Flowing Rotary VFR阀门为“DOWN”
3按住此按钮直到阀门开始动作约3秒将启动自动设定程序松开此按钮
4阀门从全关到全开往返两次。之后阀门开启到50%的位置并保持3分钟
5通过改变输入信号确认自动设定程序已经完成。整个自动设定过程约需3分钟
注执行自动设定过程中请勿将输入型号设定到4mA以下。只要信号在4-20mA范围内自动设定过程中改变输入信号不会影响程序的执行。如果输入信号跌倒4mA以下则自动设定将无效且必须重新开始。自动设定完成后信号维持在至少4mA的水平并至少保持30秒钟以确保数据和参数被保存到SVP内存中。操作结束后通过改变输入信号检查阀门的动作并确认阀门是否移到与信号相对应的正确位置。如满度位置发生偏移再执行满度调整。

2、零点-量程调整
自动设定后定位器已将其自身标定到阀门的全关零点和全开量程值。如果阀门不能获得其开度与定位器控制信号之间的正确关系则按以下步骤手动调整零点-量程。
注只有关闭和全开输入信号例4-20与储存在定位器中的或工厂中设定于定位器中的关闭和全开输入信号设定相同开度开关才会工作。
1将阀门调整到关闭位置零点的步骤
a、从控制器输入对应阀门全关位置的电流信号例4mA
b、通过按开度按钮“UP”或“DOWN”调整阀门全关位置。强制关闭功能默认值设定为0.5%。
2将阀门调整到全开位置量程的步骤
a、从控制器输入对应阀门全关位置的电流信号例20mA
b、通过按开度按钮“UP”或“DOWN”调整阀门全关位置。直至调整阀门位置到位。
注完成零点-量程调整后改变输入信号以确认阀门工作是否准确。

3、维修
1滤网更换和节气喷嘴维修
可在维修过程中清除积累在定位器节气喷嘴中的仪表空气污染物。步骤
1)、切断通向定位器的供气
2)、从A/M开关铭牌部分拧下固定螺丝注拧下螺丝时小心勿弄丢A/M开关盖板垫圈和防栓垫圈
3)、从A/M开关转到MAN手动位置
4)、用镊子或其它工具去除夹具取出旧过滤网
5)、用铁丝直径为0.3μm清除节气喷嘴中的污染物清除污染物时勿让油污或油脂弄脏节气喷嘴
6)、将新过滤网缠在A/M开关上用夹具将其压到原位
7)、将A/M开关拧到底
8)、用固定螺丝将A/M开关部分铭牌固定在A/M开关盖板上。
2清洁挡板
若仪表空气中的污染物积在挡板上注若向定位器施加气压则清洁挡板和喷嘴背压会改变引起阀门位置突然变化
1)、拆下盖子
2)、拧下盖板上的四颗螺丝
3)、将盖板滑到左侧然后拆下
4)、准备好厚度为0.2mm的纸片普通名片即可
5)、用纸片清洁EPM喷嘴和挡板之间间隙内的脏物
6)、清洁间隙后将盖板和盖子重新装上。
4、故障排除
1定位器不能工作无输出气压
a、确认定位器反馈杆的转动角度未超过20°。若超过该角度请在反馈杆上添加一个加长杆以获得足够的反馈长度
b、检查供气是否存在泄露
c、检查电器输入信号
d、检查自动/手动开关是否处于自动位置
e、检查挡板和滤网的清洁状况。
2不能获得全行程或影响速度慢
a、检查零点全开和量程全开的调整是否正确
b、检查滤网和挡板的清洁状况。
3乱调或超程
a、检查反馈杆转动的允许角度。

七、横河定位器

调试步骤

1、检查气路、电路是否满足定位器工作要求
2、给定12mA信号将反馈杆调整至水平位置
   并紧固
3、给定8mA信号通过零位调节螺母将零位调节至对应值
4、给定16mA信号通过量程调节螺母将量程调节至对应值
5、给定4mA信号检查阀门全关位置必要时进行微调
6、给定20mA信号检查阀门全开位置必要时进行微调
7、给定4mA或20mA、8mA或16mA、12mA、4mA或 20mA、16mA或8mA、20mA或4mA进行刻度验证必要时进行微调。

说明1、通过量程调节螺母可以改变定位器的作用方式。
2、取用8mA和12mA信号分别调整零位和量程是因为8mA和12mA均有上下刻度值可以明显反应零位和量程的位置而4mA向下下没有刻度和20mA向上也没有刻度值不宜采用4mA和20mA来调节零位和量程。
3、定位器调校时,必须保证阀门能够完全关闭,有时候虽然给定4mA(或20mA)信号,阀门仍然有开度。
4、气动阀门定位器和电-气阀门均属机械式阀门定位器因此调校方法类似不再详细介绍。



04
定位器常见故障



1、阀门定位器有输入信号但是没有输出信号。
1电磁铁组件发生故障建议换电磁铁组件。
2供气压力不对建议检查气源压力。
3气动放大器挡板零点调节过高挡板远离喷嘴。
4气路堵塞。
5气路连接有误包括放大器。
6电/气定位器输入信号线正负极接反。
2、阀门定位器没有输入信号但是输出信号一直最大。
1气动放大器挡板零点调节过低挡板过于压紧喷嘴。
2喷嘴堵塞。
3输出压力缓慢或不正常。
会导致调节阀的膜头受损、漏气造成有输入信号但调节阀动作缓慢的故障使调节阀达不到及时调节的效果处理办法检查膜室更换膜片。
3、定位器线性不好
1反馈凸轮或弹簧选择不当或者方向不对。
2反馈连杆机构安装不好或者在某些位置有卡住的现象。
3喷嘴或挡板有异物。
4背压有轻微泄漏现象。


本帖子中包含更多资源

您需要 登录 才可以下载或查看,没有账号?立即注册

×
工控课堂 www.gkket.com

0

主题

198

回帖

409

积分

注册会员

积分
409
发表于 2019-4-13 23:48:35 | 显示全部楼层
看完楼主的帖子,我的心情竟是久久不能平息,受教了
工控课堂 www.gkket.com

0

主题

166

回帖

470

积分

注册会员

积分
470
发表于 2019-4-13 23:48:52 | 显示全部楼层
看了楼主的帖子,不由得精神一振,豁然开朗,牛掰
工控课堂 www.gkket.com

0

主题

166

回帖

470

积分

注册会员

积分
470
发表于 2019-4-13 23:58:32 | 显示全部楼层
太生气了,无法HOLD啦 >_<......
工控课堂 www.gkket.com

0

主题

170

回帖

534

积分

中级会员

积分
534
发表于 2019-4-14 00:30:44 | 显示全部楼层
楼主加油,我们都看好你哦。
工控课堂 www.gkket.com

0

主题

151

回帖

331

积分

注册会员

积分
331
发表于 2019-4-14 00:32:40 | 显示全部楼层
好东西一定要看看!
工控课堂 www.gkket.com

0

主题

389

回帖

2509

积分

高级会员

积分
2509
发表于 2019-4-18 21:57:55 | 显示全部楼层
激动人心,无法言表!
工控课堂 www.gkket.com

8

主题

415

回帖

2672

积分

高级会员

积分
2672
发表于 2019-4-20 20:45:04 | 显示全部楼层
{forum}这个类目最活跃了!赞一个!
工控课堂 www.gkket.com

0

主题

439

回帖

2772

积分

高级会员

积分
2772
发表于 2019-4-22 18:32:55 | 显示全部楼层
我顶,我顶,我顶顶顶
工控课堂 www.gkket.com

0

主题

254

回帖

2296

积分

高级会员

积分
2296
发表于 2019-4-24 06:39:50 | 显示全部楼层
我只是路过打酱油的。
工控课堂 www.gkket.com
您需要登录后才可以回帖 登录 | 立即注册

本版积分规则

关闭

站长推荐上一条 /1 下一条

QQ|手机版|免责声明|本站介绍|工控课堂 ( 沪ICP备20008691号-1 )

GMT+8, 2025-12-22 13:31 , Processed in 0.120632 second(s), 26 queries .

Powered by Discuz! X3.5

© 2001-2025 Discuz! Team.

快速回复 返回顶部 返回列表