工控课堂

 找回密码
 立即注册

QQ登录

只需一步,快速开始

扫一扫,访问微社区

工控课堂 首页 工控文库 PLC学习 查看内容

实例讲解红绿灯PLC程序设计方法

2020-4-11 23:02| 发布者: 198366809| 查看: 58| 评论: 1|原作者: 198366809

摘要: 十字路口的交通指挥信号灯布置如下图:一、控制要求(1)信号灯系统由一个启动开关控制,当启动开关接通时,该信号灯系 统开始工作,当启动开关关断时,所有信号灯都熄灭。(2)南北绿灯和东西绿灯不能同时亮。如果 ...
十字路口的交通指挥信号灯布置如下图:
一、控制要求
(1)信号灯系统由一个启动开关控制,当启动开关接通时,该信号灯系 统开始工作,当启动开关关断时,所有信号灯都熄灭。
(2)南北绿灯和东西绿灯不能同时亮。如果同时亮应关闭信号灯系统, 并立刻报警。
(3)南北红灯亮维持 25s。在南北红灯亮的同时东西绿灯也亮,并维持 20s。到 20s 时,东西绿灯闪亮,闪亮 3s 后熄灭,此时,东西黄 灯亮,并维持 2s。到 2s 时,东西黄灯熄灭,东西红灯亮。同时, 南北红灯熄灭,南北绿灯亮。
(4)东西红灯亮维持 30s。南北绿灯亮维持 25s,然后闪亮 3s 后熄灭。 同时南北黄灯亮,维持 2s 后熄灭,这时南北红灯亮,东西绿灯亮。
(5)以上南北、东西信号灯周而复始地交替工作状态,指挥着十字路口 的交通,其时序如下所示。

二、PLC 接线
三、定义符号地址
四、梯形图程序
如下所示是三层楼电梯示意图。电梯的上升、下降由一台电动机控制;正 转时电梯上升、反转时电梯下降。各层设一个呼叫开关(SB1、SB2、SB3)、 一个呼叫指示灯(H1、H2、H3)、一个到位行程开关(ST1、ST2、ST3)。

控制要求:
(1)各层的呼叫开关为按钮式开关,SB1、SB2 及 SB3 均为瞬间接通有效
(即瞬间接通的即放开仍有效)。
(2)电梯箱体上升途中只响应上升呼叫,下降途中只响应下降呼叫,任何 反方向呼叫均无效,简称为不可逆响应。具体动作要求,如下表。
(3)各楼层间有效运行时间应小于 10S,否则认为有故障、自动令电动机停转。
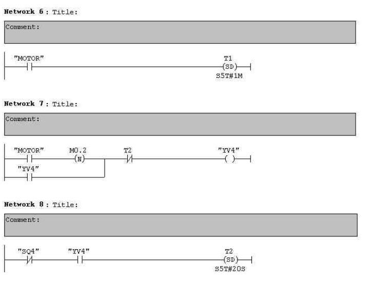
多种液体自动混合装置的 PLC 控制 如图所示为三种液体混合装置,SQ1、SQ2、SQ3 和 SQ4 为液面传感器, 液面淹没时接通,液体 A、B、C 与混合液阀由电磁阀 YV1、YV2、YV3、 YV4 控制,M 为搅匀电动机,其控制要求如下:
1.初始状态
装置投入运行时,液体 A、B、C 阀门关闭,混合液阀门打开 20s 将容 器放空后关闭。
2.起动操作
按下启动按钮 SB1,装置开始按下列给定规律运转:
①液体 A 阀门打开,液体 A 流入容器。当液面达到 SQ3 时,SQ3 按通, 关闭液体 A 阀门,打开液体 B 阀门。
②当液面达到 SQ2 时,关闭液体 B 阀门,打开液体 C 阀门。
③当液面达到 SQ1 时,关闭液体 C 阀门,搅匀电动机开始搅拌。
④搅匀电动机工作 1min 后停止搅动,混合液体阀门打开,开始放出 混合液体。
⑤当液面下降到 SQ4 时,SQ4 由接通变断开,再过 20s 后,容器放空, 混合液阀门关闭,开始下一周期。
3.停止操作
按下停止按钮 SB2 后,要将当前的混合操作处理完毕后,才停止操 作(停在初始状态)
参考程序:
霓虹灯广告屏控制器的设计
用 PLC 对霓虹灯广告屏实现控制,其具体要求如下:
该广告屏中间 8 个灯管亮灭的时序为第 1 根亮→第 2 根亮→第 3 根 亮→…→第 8 根亮,时间间隔为 1s,全亮后,显示 10s,再反过来从 8→7→…→1 顺序熄灭。全灭后,停亮 2s,再从第 8 根灯管开始亮 起,顺序点亮 7→6→…→1,时间间隔为 1s,显示 20s,再从→2→…→8 顺序熄灭。全熄灭后,停亮 2s,再从头开始运行,周而复始。
参考梯形图程序:
设计程序,使两个气缸顺序动作,其顺序为:A1B1B0A0。
(一)气控回路
(二)位移-步骤图
(三)I 型障碍信号分析
(四)PLC 接线

(五)定义符号地址
(六)梯形图程序
自动售货机的 PLC 控制
如下图所示的自动售货机示意图,其工作要求如下:
1.此售货机可投入 1 元、5 元或 10 元硬币。
2.当投入的硬币总值超过 12 元时,汽水按钮指示灯亮;当投入的硬
币总值超过 15 元时,汽水及咖啡按钮指示灯都亮。
3.当汽水按钮灯亮时,按汽水按钮,则汽水排出 7s 后自动停止,这段时间内,汽水指示灯闪动。
4.当咖啡按钮灯亮时,按咖啡按钮,则咖啡排出 7s 后自动停止,这段时间内,咖啡指示灯闪动。
5.若投入硬币总值超过按钮所需的钱数(汽水 12 元,咖啡 15 元)时,找钱指示灯亮,表示找钱动作,并退出多余的钱。
参考答案:


t017e5a633fc8dc22e6.jpg

路过

雷人

握手

鲜花

鸡蛋

相关阅读

发表评论

最新评论

lemontree 2020-4-11 23:01
感谢楼主无私分享!

查看全部评论(1)

热门文章

QQ|免责声明|本站介绍|工控课堂 ( 沪ICP备20008691号-1 || 沪公网安备 31010602005455号 )|网站地图

GMT+8, 2020-4-28 22:10 , Processed in 0.075835 second(s), 45 queries .

Powered by Discuz! X3.4

© 2001-2017 Comsenz Inc.

返回顶部