按照三相异步[color=rgb(68, 68, 68) !important]电动机控制原理图接线或用控制模板代替。图中的QS为[color=rgb(68, 68, 68) !important]电源刀开关,当KM1、KM3主触点闭合时,电动机星形连接;当KM1、KM2主触点闭合时,电动机三角形连接。
设计一个三相[color=rgb(68, 68, 68) !important]异步电动机星-三角降压启动控制程序,要求合上电源刀开关,按下启动按钮SB2后,电机以星形连接启动,开始转动5S后,KM3断电,星形启动结束。
若8.4.1项目描述改为:设计一个三相异步电动机星-三角降压启动控制程序,要求合上电源刀开关,按下启动按钮SB2后,电机以星形连接启动,开始转动5S后,KM3断电,星形启动结束。为了有效防止电弧短路,要延时300ms后,KM2[color=rgb(68, 68, 68) !important]接触器线圈得电,电动机按照三角形连接转动。不考虑过载保护。
(1)输入点和输出点分配
见表8-3。

表8-3 输入点和输出点分配表
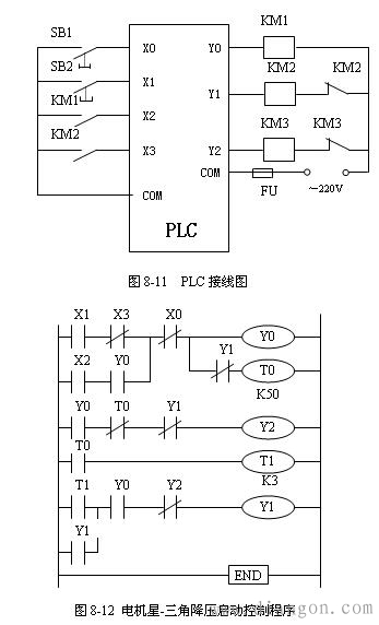
(2) [color=rgb(68, 68, 68) !important]plc接线图

按照图8-11完成PLC的接线。图中输入端的24V电源可以利用PLC提供的直流电源,也可以根据功率单独提供电源。若实验用PLC的输入端为[color=rgb(68, 68, 68) !important]继电器输入,也可以用220V交流电源。
图8-11中,电路主接触器KM和三角形全压运行接触器的动合辅助触点作为输入信号接于PLC的输入端,便于程序中对这两个接触器的实际动作进行监视,通过程序以保证电机实际运行的安全。PLC输出端保留星形和三角形接触器线圈的硬互锁环节,程序中也要另设软互锁。
(3)程序设计
图8-12为电机星-三角降压启动控制的梯形图。在接线图8-11中将主接触器KM1和三角形连接的接触器KM2辅助触点连接到PLC的输入端X2、X3,将启动按钮的动合触点X1与X3的动断触点串联,作为电机开始启动的条件,其目的是为防止电机出现三角形直接全压启动。因为,若当接触器KM2发生故障时,如主触点烧死或衔铁卡死打不开时,PLC的输入端的KM2动合触点闭合,也就使输入继电器X3处于导通状态,其动断触点断开状态,这时即使按下启动按钮SB2(X1闭合),输出Y0也不会导通,作为负载的KM1就无法通电动作。
在正常情况下,按下启动按钮后,Y0导通,KM1主触点动作,这时如KM1无故障,则其动合触点闭合,X2的动合触点闭合,与Y0的动合触点串联,对Y0形成自锁。同时,定时器T0开始计时,计时5s。
Y0导通,其动合触点闭合,程序第2行中,后面的两个动断触点处于闭合状态,从而使Y2导通,接触器KM3主触点闭合,电机星形启动。当T0计时5s后,使Y2断开,即星形启动结束。该行中的Y1动断触点起互锁作用,保证若已进入三角形全压启动时,接触器KM3呈断开状态。
T0定时到的同时,也就是星形启动结束后,防止电弧短路,需要延时接通KM2,因此,程序第3行的定时器T1起延时0.3s的作用。
T1导通后,程序第4行使Y1导通,KM2主触点动作,电机呈三角形全压启动。这里的Y2动断触点也起到软互锁作用。由于Y1导通使T0失电,T1也因T0而失电,因此,程序中用Y2的动断触点对Y1自锁。
按下停止按钮,Y0失电,从而使Y1或Y2失电,也就是在任何时候,只要按停止按钮,电机都将停转。
(4)运行并调试程序
a.将梯形图程序输入到计算机。
b.下载程序到PLC,并对程序进行调试运行。观察电机在程序控制下能否实现自动星-三角降压启动。
c.调试运行并记录调试结果。
|
 |