找回密码
 立即注册

QQ登录

只需一步,快速开始

查看: 4709|回复: 12

PLC如何连接编码器和接近开关,接线图是什么

 火.. [复制链接]
  • 打卡等级:常驻代表
  • 打卡总天数:34
  • 打卡月天数:6
  • 打卡总奖励:9027
  • 最近打卡:2025-12-17 23:15:51

2823

主题

541

回帖

2万

积分

管理员

积分
22569
发表于 2020-1-11 16:35:02 | 显示全部楼层 |阅读模式
各类PLC的输入电路大致相同,通常有三种类型。一种是直流12~24V输入,另一类是交流100~120V、200~240V输入,第三类是交直流输入。外界输入器件可以是无源触点或是有源的传感器输入。这些外部器件都要通过PLC端子与PLC连接,都要形成闭合有源回路,所以必须提供电源

1. 无源开关的接线
FX2N系列PLC只有直流输入,且在PLC内部,将输入端与内部24V电源正极相连、COM端与负极连接,参见图1所示。这样,其无源的开关类输入,不用单独提供电源。这与其它类PLC有很大区别,在今后使用其它PLC时,要注意仔细阅读其说明书。


2.接近开关的接线
接近开关指本身需要电源驱动,输出有一定电压电流的开关量传感器。开关量传感器根据其原理分有很多种,可用于不同场合的检测,但根据其信号线可以分成三大类:两线式、三线式、四线式。其中四线式有可能是同时提供一个动合触点和一个动断触点,实际中只用其中之一;或者是第四根线为传感器校验线,校验线不会与PLC输入端连接的。因此,无论那种情况都可以参照三线式接线。图2为PLC与传感器连接的示意图。
两线式为一信号线与电源线。三线式分别为电源正、负极和信号线。不同作用的导线用不同颜色表示,这种颜色的定义有不同的定义方法,使用时参见相关说明书。图2(b)中所示为一种常见的颜色定义。信号线为黑色时为动合式;动断式用白色导线。


图示传感器为NPN型,是常用的形式。对于PNP型传感器与PLC连接,不能照搬这种连接,要参考相应的资料。

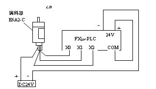
3.旋转编码器的接线
旋转编码器可以提供高速脉冲信号,在数控机床及工业控制中经常用到。不同型号的编码器输出的频率、相数也不一样。有的编码器输出A、B、C三相脉冲,有的只有两相脉冲,有的只有一相脉冲(如A相),频率有100 Hz、200Hz、1k Hz、 2k Hz 等。当频率比较低时,PLC可以响应;频率高时,PLC就不能响应,此时,编码器的输出信号要接到特殊功能模块上,FX2N-11C如采用FX2N-11HC高速计数模块。



图3为FX2N型PLC与OMRON的E6A2-C系列旋转编码器的接口示意图。

4. 三菱plc端子接线图
在工程实际中,一般输入输出设备不可能都直接与PLC连接。而且PLC的多个输出端子公用一个COM端,也不可能在一个端子上连接几根甚至十几根导线,所以,必须通过端子排连接。
端子排通常是由多片端子并排安装在导轨上组成的。每片端子的两个口是短接的,根据需要可以将各片端子短接在一起。


本帖子中包含更多资源

您需要 登录 才可以下载或查看,没有账号?立即注册

×
工控课堂 www.gkket.com

0

主题

97

回帖

282

积分

注册会员

积分
282
发表于 2020-1-11 16:39:31 | 显示全部楼层
激动人心,无法言表!
工控课堂 www.gkket.com

0

主题

119

回帖

520

积分

中级会员

积分
520
发表于 2020-10-19 20:09:02 | 显示全部楼层
强烈支持楼主ing……
工控课堂 www.gkket.com

0

主题

98

回帖

156

积分

新手上路

积分
156
发表于 2025-11-15 20:25:14 | 显示全部楼层
谁懂啊!真的被戳中笑点 / 泪点了
工控课堂 www.gkket.com

0

主题

92

回帖

296

积分

注册会员

积分
296
QQ
发表于 2025-11-17 13:47:51 | 显示全部楼层
学到了学到了,这波分享太实用啦!
工控课堂 www.gkket.com

0

主题

96

回帖

147

积分

新手上路

积分
147
发表于 2025-11-18 13:58:09 | 显示全部楼层
画面感太强了,仿佛身临其境!
工控课堂 www.gkket.com

0

主题

113

回帖

204

积分

注册会员

积分
204
发表于 2025-11-18 14:04:59 | 显示全部楼层
同款经历!我当初也这么过来的😂
工控课堂 www.gkket.com

0

主题

98

回帖

149

积分

新手上路

积分
149
发表于 2025-11-18 14:05:53 | 显示全部楼层
理性围观,感觉大家说得都有道理
工控课堂 www.gkket.com

0

主题

66

回帖

95

积分

新手上路

积分
95
发表于 2025-11-18 14:06:06 | 显示全部楼层
笑不活了,评论区比正文还精彩
已转发给朋友,一起快乐一下
工控课堂 www.gkket.com

0

主题

95

回帖

142

积分

新手上路

积分
142
发表于 2025-11-18 14:06:14 | 显示全部楼层
楼主辛苦啦,期待下一篇分享!
工控课堂 www.gkket.com
您需要登录后才可以回帖 登录 | 立即注册

本版积分规则

关闭

站长推荐上一条 /1 下一条

QQ|手机版|免责声明|本站介绍|工控课堂 ( 沪ICP备20008691号-1 )

GMT+8, 2025-12-22 15:46 , Processed in 0.133277 second(s), 29 queries .

Powered by Discuz! X3.5

© 2001-2025 Discuz! Team.

快速回复 返回顶部 返回列表