找回密码
 立即注册

QQ登录

只需一步,快速开始

查看: 5526|回复: 12

用PLC设计复杂十字路口的红绿灯控制系统,让交通井然有序

 火.. [复制链接]
  • 打卡等级:即来则安
  • 打卡总天数:27
  • 打卡月天数:6
  • 打卡总奖励:7736
  • 最近打卡:2025-12-20 00:35:11

3317

主题

285

回帖

2万

积分

管理员

积分
23881
发表于 2021-3-11 19:55:10 | 显示全部楼层 |阅读模式




通过分析交通复杂十字路口信号灯的控制要求,结合S7-200的控制性能,在传统的交通灯控制基础上增加了左转控制功能,对系统进行了软、硬件设计,实现了复杂十字路口的东西南北方向的直行、左转及人行道信号灯的合理控制的功能,实验验证了方法的可靠性。


1 西门子S7-200与交通灯控制
S7-200系列是SIEMENS公司推出的一种小型PLC。它以紧凑的结构、良好的扩展性、强大的指令功能、低廉的价格,已经成为当代各种小型控制工程的理想控制器。S7-200包含了一个单独的S7-200CPU和各种可选择的扩展模块,可以十分方便地组成不同规模的控制器。其控制规模可以从几点到几百点。
目前,PLC已广泛应用于工业控制中,但是在交通控制方面应用方面还不是很广泛。PLC应用于交通控制还有很大的潜能,PLC以其可方便操作、可方便编程调试等特点,使得其有逐步取代以往的单片机在交通灯中的地位的趋势。本文主要研究了基于西门子S7-200的复杂十字路口的交通信号灯控制系统。
2 复杂十字路口交通灯控制系统的功能
一个复杂十字路口的交通灯控制系统主要包括东西南北方向上的车辆直行红黄绿灯的控制、车辆左转红绿灯的控制以及各方向上人行道的红黄绿灯的控制。
在现代化的大城市中, 十字交叉路口越来越多,在每个交叉路口都需要使用红绿灯进行交通指挥和管理,红、黄、绿灯的转换要有一个准确的时间间隔和转换顺序,这就需要有一个安全、自动的、协调的系统对红、黄、绿灯的转换进行管理。
3 设计
3.1 十字路口交通灯布置
在十字路口东西南北装上主干道“红黄绿”灯,人行道“红黄绿”灯,其中主干道的“红黄绿”灯又分为左转“红绿”灯和直行“红黄绿”灯。具体分布如图1,总共交通灯个数为32个,其中红灯12个、绿灯12个、黄灯8个。

图1 交通灯分布图


3.2 I/O分布及硬件接线图
输入只需一个启动按钮即可。输出有东西方向主干道直行“红黄绿”灯、东西方向人行道“红黄绿”灯、南北方向直行“红黄绿”灯、南北方向人行道“红黄绿”灯、东西方向左转“红绿”灯、南北方向左转“红绿”灯,共32个灯。
但东西方向主干道直行“红黄绿”灯和南北方向人行道“红黄绿”灯运行状况相同,南北方向直行“红黄绿”灯和东西方向人行道“红黄绿”灯运行状况相同,所以它们可以共用输出口,最后核计只需用10个PLC输出点就能达到目的。具体I/O分配表如表1。

表1 数字量输入输出地址分配表


控制系统主要任务是负责控制东西南北各红绿灯的状态和转换顺序, 关键是各个状态之间的转换和进行适当的时间延时。由于人行道上的交通灯控制与其同方向上的主干道直行灯控制一样,故下面有些讨论暂没有提及人行道上的交通灯控制。
3.3 按控制要求给出控制时序
按车辆通行顺序开启系统控制,先让南北方向左转车辆运行,接着让南北方向主干道直行车辆运行,再接着让东西方向左转车辆运行,然后东西方向主干道直行车辆运行,如此循环。正常情况下,在变换车道运行时,绿灯熄灭前会闪几秒钟,左转绿灯灭设定闪2S,直行绿灯灭设定闪3S。正常情况下循环运行时序图如下:

图2 交通灯控制时序图


3.4 软件设计
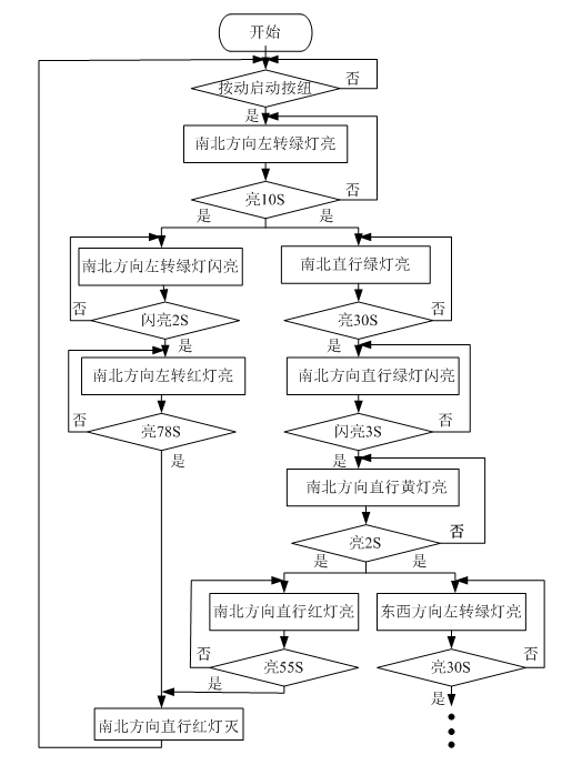
南北方向的交通灯控制程序流程图如图3:

图3 控制程序流程图


流程图省略的部分是东西方向的交通灯控制流程,其控制方案与南北方向的控制相似。
4 实验调试
根据系统对I/O口量的需求,选用S7-224来完成调试,硬件接线如图4 。

图4 系统硬件接线图


图中的标注以“南主左绿”为例说明,其中的“南”表示南边方向,“主”表示主干道,“左”表示左转,“绿”表示绿灯,其它的标注与此类似。
选一个循环周期(90S),以南北左转绿灯闪亮为开始,根据实验实际情况,记录其调试结果如表2,表中“1”表示其对应的I/O口在其对应的时间段输出为高电平,“0”则表示其对应的I/O口在其对应的时间段输出为低电平,“闪”表示闪亮。

表2 实验调试数据(一个循环周期)


从表中可以看出其工作顺序情况与事先设计的交通灯控制时序完全吻合,这证明了方法的有效性。分析上述表格数据,可以看出任何时刻都只有4个输出口处于工作状态。
分析同一时刻的4个输出口的情况可以看出,这四个输出口分别控制着交通的四个状态,即东西直行(东西人行道)、南北直行(南北人行道)、东西左转和南北左转,且在同一时刻,交通的四个状态中只有一个交通状态的绿灯在正常有效工作,而其它三个交通状态的红灯在正常有效工作(或者其绿灯处于闪亮阶段),这就保证了整个十字路口的井然有序工作。
结束语
本文详细介绍了单个复杂路口的PLC软硬件设计,随着现在城市交通的发展,越来越需要把多个路口看作一个整体来进行设计,根据各道路上的流量来控制各路口的红黄绿灯。但是单个路口的控制仍然是基础,只有在解决了单个路口的基础上才能更方便地解决多路口问题,所以说研究单个复杂十字路口交通灯的PLC控制问题仍然是具有一定的实际意义。
(摘编自《电气技术》,原文标题为“基于S7-200设计的复杂交通灯控制系统”,作者为张小青。)

来源:电气技术(头条)

工控课堂 www.gkket.com

0

主题

78

回帖

343

积分

注册会员

积分
343
发表于 2021-3-11 20:07:06 | 显示全部楼层
真是被感动的痛哭流涕……
工控课堂 www.gkket.com

0

主题

251

回帖

484

积分

注册会员

积分
484
发表于 2021-3-12 01:33:12 | 显示全部楼层
论坛有你更精彩!
工控课堂 www.gkket.com

0

主题

67

回帖

294

积分

注册会员

积分
294
发表于 2025-11-17 16:27:00 | 显示全部楼层
楼主太会说了,字字句句都在理~
工控课堂 www.gkket.com

0

主题

102

回帖

158

积分

新手上路

积分
158
发表于 2025-11-17 17:14:30 | 显示全部楼层
路过打卡,为优质内容疯狂打 call
工控课堂 www.gkket.com

0

主题

103

回帖

198

积分

新手上路

积分
198
发表于 2025-11-17 18:19:22 | 显示全部楼层
蹲一波同款,有没有姐妹 / 兄弟推荐?
工控课堂 www.gkket.com

0

主题

126

回帖

423

积分

注册会员

积分
423
发表于 2025-11-17 18:25:46 | 显示全部楼层
占个楼慢慢看,先马克一下
楼主辛苦啦,期待下一篇分享
工控课堂 www.gkket.com

0

主题

349

回帖

466

积分

注册会员

积分
466
发表于 2025-11-17 18:29:22 | 显示全部楼层
笑不活了,评论区比正文还精彩!
工控课堂 www.gkket.com

0

主题

71

回帖

108

积分

新手上路

积分
108
发表于 2025-11-17 18:29:55 | 显示全部楼层
哈哈哈哈笑不活,楼主这脑洞绝了!
工控课堂 www.gkket.com

0

主题

125

回帖

199

积分

新手上路

积分
199
发表于 2025-11-17 18:31:46 | 显示全部楼层
学到干货了,感谢分享,已火速收藏
工控课堂 www.gkket.com
您需要登录后才可以回帖 登录 | 立即注册

本版积分规则

关闭

站长推荐上一条 /1 下一条

QQ|手机版|免责声明|本站介绍|工控课堂 ( 沪ICP备20008691号-1 )

GMT+8, 2025-12-22 14:14 , Processed in 0.120607 second(s), 26 queries .

Powered by Discuz! X3.5

© 2001-2025 Discuz! Team.

快速回复 返回顶部 返回列表