找回密码
 立即注册

QQ登录

只需一步,快速开始

查看: 11810|回复: 21

西门子S7-1200系列PLC全套接线图

 火.. [复制链接]
  • 打卡等级:常驻代表
  • 打卡总天数:34
  • 打卡月天数:6
  • 打卡总奖励:9027
  • 最近打卡:2025-12-17 23:15:51

2823

主题

541

回帖

2万

积分

管理员

积分
22569
发表于 2019-4-8 21:41:23 | 显示全部楼层 |阅读模式
S7-1200 系列是一款可编程逻辑控制器 (PLC, Programmable Logic Controller),可以控制各种自动化应用。 S7-1200 设计紧凑、成本低廉且具有功能强大的指令集,这些特点使它成为控制各种应用的完美解决方案。S7-1200 型号和基于 Windows 的编程工具提供了解决自动化问题时需要的灵活性。
SIMATIC S7-1200 PLC 与新型 SIMATIC HMI Basic Panel 的完美匹配确保自动化任务特别高效、易于开发和调试。
一. S7-1200输入输出接线图
CPU 1211C 接线图
CPU 1211C AC/DC/继电器 (6ES7 211-1BE40-0XB0)
① 24 VDC 传感器电源
② 对于漏型输入将负载连接到“-”端(如图示);对于源型输入将负载连接到“+”端



CPU 1211C DC/DC/继电器 (6ES7 211-1HE40-0XB0)
① 24 VDC 传感器电源
② 对于漏型输入将负载连接到“-”端(如图示);对于源型输入将负载连接到“+”端

CPU 1211C DC/DC/DC (6ES7 211-1AE40-0XB0)
① 24 VDC 传感器电源
② 对于漏型输入将负载连接到“-”端(如图示);对于源型输入将负载连接到“+”端
CPU 1212C 接线图
CPU 1212C AC/DC/继电器 (6ES7 212-1BE40-0XB0)
① 24 VDC 传感器电源
② 对于漏型输入将负载连接到“-”端(如图示);对于源型输入将负载连接到“+”端



CPU 1212C DC/DC/继电器 (6ES7 212-1HE40-0XB0)
① 24 VDC 传感器电源
② 对于漏型输入将负载连接到“-”端(如图示);对于源型输入将负载连接到“+”端



CPU 1212C DC/DC/DC (6ES7 212-1AE40-0XB0)
① 24 VDC 传感器电源
② 对于漏型输入将负载连接到“-”端(如图示);对于源型输入将负载连接到“+”端


CPU 1214C 接线图
CPU 1214C AC/DC/继电器 (6ES7 214-1BG40-0XB0)
① 24 VDC 传感器电源
② 对于漏型输入将负载连接到“-”端(如图示);对于源型输入将负载连接到“+”端



CPU 1214C DC/DC/继电器 (6ES7 214-1HG40-0XB0)
① 24 VDC 传感器电源
② 对于漏型输入将负载连接到“-”端(如图示);对于源型输入将负载连接到“+”端



CPU 1214C DC/DC/DC (6ES7 214-1AG40-0XB0)
① 24 VDC 传感器电源
② 对于漏型输入将负载连接到“-”端(如图示);对于源型输入将负载连接到“+”端



CPU 1215C 接线图
CPU 1215C AC/DC/继电器 (6ES7 215-1BG40-0XB0)
① 24 VDC 传感器电源
② 对于漏型输入将负载连接到“-”端(如图示);对于源型输入将负载连接到“+”端



CPU 1215C DC/DC/继电器 (6ES7 215-1HG40-0XB0)
① 24 VDC 传感器电源
② 对于漏型输入将负载连接到“-”端(如图示);对于源型输入将负载连接到“+”端


CPU 1215C DC/DC/DC (6ES7 215-1AG40-0XB0)

① 24 VDC 传感器电源
② 对于漏型输入将负载连接到“-”端(如图示);对于源型输入将负载连接到“+”端


CPU 1217C 接线图
CPU 1217C DC/DC/DC (6ES7 217-1AG40-0XB0)
① 24 VDC 传感器电源
② 对于漏型输入将负载连接到“-”端(如图示);对于源型输入将负载连接到“+”端
③ 5V差分信号输入
④ 5V差分信号输出


常见问题
1217C的 5V差分信号能不能当普通的DI/DO点使用?
答:不能。详情可见《 S7-1200 系统手册 》的附录

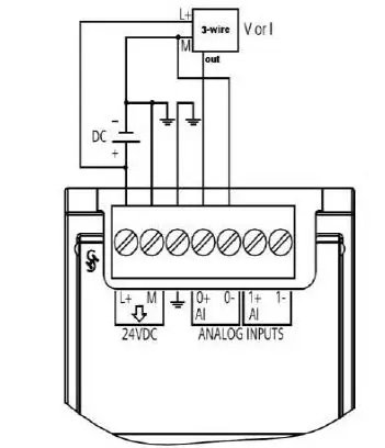
S7-1200 CPU 自带模拟量输入通道能否接入 0-20mA 电流信号?怎么接线?
答:S7-1200 自带模拟量输入通道支持 0-10 V 电压信号。如果需要接 0-20mA 电流信号, 可并联 1个 500ohm 的电阻
注意:使用 500Ω 电阻时,必须注意这种测量方式的功率消耗。 并确保电阻两端外加 DC 24 V 电压时,电阻功率消耗至少为 1.16 W。 同时, 此方法精度无法保证。

以 S7-1200 自带模拟量输入通道接入常用的两线制传感器 4-20mA 电流信号为例, 如下图:

二.数字量信号模块输入输出接线图
SM 1221 数字量输入
对于漏型输入将“-”连接到“M”(如图示);对于源型输入将“+”连接到“M”

SM 1222 数字量输出
SM1222 DQ 8 继电器切换模块使用公共端子控制两个电路: 一个常闭触点和一个常开触点。
例如输出"0",当输出点断开时,公共端子 (0L) 与常闭触点 (.0X) 相连并与常开触点 (.0) 断开。 当输出点接通时,公共端子 (0L) 与常闭触点 (.0X) 断开并与常开触点 (.0) 相连。

SM 1223 数字量输入/输出

对于漏型输入将负载连接到“-”端(如图示);对于源型输入将负载连接到“+”端
SM 1223 也有交流电压输入、继电器输出的模块, 如下所示:
SM 1223 DI 8 x 120/230 VAC,DQ 8 x 继电器 (6ES7 223-1QH32-0XB0)

数字量信号板
通过信号板 (SB, Signal Board) 可以给 CPU 增加 I/O。提供所有 SIMATIC S7-1200 控制器的低成本有效扩展,同时保持原有空间, SB 连接在 CPU 的前端。
SB 1221 200KHZ数字量输入接线
仅支持源型输入
SB 1222 200KHZ数字量输出接线

对于源型输出将负载连接到“-”端(如图示);对于漏型输出将负载连接到“+”端

SB 1223 200KHZ数字量输入/输出接线
① 仅支持源型输入
② 对于源型输出将负载连接到“-”端(如图示);对于漏型输出将负载连接到“+”端

SB 1223 数字量输入/输出接线

仅支持漏型输入
源型/漏型输入接线说明
支持源型输入的信号板:
6ES7 221-3BD30-0XB0
6ES7 221-3AD30-0XB0
6ES7 223-3BD30-0XB0
6ES7 223-3AD30-0XB0
支持漏型输入的信号板:
6ES7 223-0BD30-0XB0
支持源型输入的信号模板:
6ES7 221-1BF32-0XB0
6ES7 221-1BH32-0XB0
6ES7 223-1PH32-0XB0
6ES7 223-1PL32-0XB0
6ES7 223-1BH32-0XB0
6ES7 223-1BL32-0XB0
支持漏型输入的信号模板:
6ES7 221-1BF32-0XB0
6ES7 221-1BH32-0XB0
6ES7 223-1PH32-0XB0
6ES7 223-1PL32-0XB0
6ES7 223-1BH32-0XB0
6ES7 223-1BL32-0XB0
可以参考 《 S7-1200 系统手册》
数字量的输入信号类型总结:CPU 集成的输入点和信号模板的所有输入点都既支持漏型输入又支持源型输入,而信号板的输入点只支持源型输入或者漏型输入的一种。

漏型输入见模板接线图,源型输入接线参考下图。
源型/漏型输出接线说明
支持源型输出的信号板:
6ES7 222-1AD30-0XB0
6ES7 222-1BD30-0XB0
6ES7 223-3AD30-0XB0
6ES7 223-3BD30-0XB0
6ES7 223-0BD30-0XB0
注意:所有支持源型输出的晶体管输出信号模块都只支持源型输出,不支持漏型输出。

支持漏型输出的信号板:
6ES7 222-1AD30-0XB0
6ES7 222-1BD30-0XB0
6ES7 223-3AD30-0XB0
6ES7 223-3BD30-0XB0
注意:数字量的输出信号类型,只有 200 KHZ的信号板输出既支持漏型输出又支持源型输出,其他信号板、信号模块和 CPU 集成的晶体管输出都只支持源型输出。

常见问题
为何SM1223已连接,信号输出通道指示灯也亮,但无电压输出?
答:S7-1200扩展模块输出通道指示灯电源由总线提供,但信号输出需要模块供电,正确接线方式如下图所示:


三.模拟量模块输入输出接线图
SM1231 模拟量输入

SM 1232 模拟量输出
SM 1234 模拟量输入/输出
SB 1231 模拟量输入(信号板)
SB 1232 模拟量输出(信号板)
AI 连接传感器接线方式
图1. 4 线制传感器
图2. 3 线制传感器
图3. 2 线制传感器

TC 信号模块
TC 信号模块接线
TC 信号板接线

RTD 信号模块
RTD 信号模块接线
RTD 信号板接线

本帖子中包含更多资源

您需要 登录 才可以下载或查看,没有账号?立即注册

×
工控课堂 www.gkket.com

0

主题

162

回帖

386

积分

注册会员

积分
386
发表于 2019-4-8 21:53:11 | 显示全部楼层
楼主加油,我们都看好你哦。
工控课堂 www.gkket.com

0

主题

137

回帖

350

积分

注册会员

积分
350
发表于 2019-4-8 21:54:04 | 显示全部楼层
真是难得给力的帖子啊。
工控课堂 www.gkket.com

0

主题

132

回帖

351

积分

注册会员

积分
351
发表于 2019-4-8 21:55:42 | 显示全部楼层
好东西一定要看看!
工控课堂 www.gkket.com

0

主题

154

回帖

471

积分

注册会员

积分
471
发表于 2019-4-8 21:56:09 | 显示全部楼层
加油,加油,不要沉下去,我是最热贴
工控课堂 www.gkket.com

0

主题

140

回帖

404

积分

注册会员

积分
404
发表于 2019-4-8 21:57:58 | 显示全部楼层
激动人心,无法言表!
工控课堂 www.gkket.com

0

主题

453

回帖

2302

积分

高级会员

积分
2302
发表于 2019-4-15 10:12:50 | 显示全部楼层
{forum}这个类目最活跃了!赞一个!
工控课堂 www.gkket.com
  • 打卡等级:即来则安
  • 打卡总天数:29
  • 打卡月天数:1
  • 打卡总奖励:7791
  • 最近打卡:2025-12-13 17:25:16

2540

主题

1353

回帖

2万

积分

管理员

积分
21301
发表于 2019-5-5 15:23:19 | 显示全部楼层
我只是路过打酱油的。
工控课堂 www.gkket.com

0

主题

276

回帖

840

积分

中级会员

积分
840
发表于 2019-6-5 14:57:35 | 显示全部楼层
楼主您的技术水准,我最服你,其他都是浮云
工控课堂 www.gkket.com

0

主题

86

回帖

291

积分

注册会员

积分
291
发表于 2019-6-8 17:58:33 | 显示全部楼层
淡定,淡定,淡定……
工控课堂 www.gkket.com
您需要登录后才可以回帖 登录 | 立即注册

本版积分规则

关闭

站长推荐上一条 /1 下一条

QQ|手机版|免责声明|本站介绍|工控课堂 ( 沪ICP备20008691号-1 )

GMT+8, 2025-12-22 16:13 , Processed in 0.342778 second(s), 26 queries .

Powered by Discuz! X3.5

© 2001-2025 Discuz! Team.

快速回复 返回顶部 返回列表